500506百万文字综合论坛-500505百万文字论坛字论文查询-500505百万文字论坛最新版本-03024百万文字综合论坛-500506百万文字论坛转载-798790论坛开奖历史记录-百万文字论坛500507实战干货!EMC静电防护方案及整改实例分享
2022-03-22什么是静电
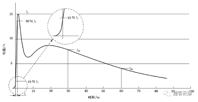
在电磁环境中,电磁干扰造成的危害是各种各样的,可能从最简单的令人烦恼的现象直到严重的灾难。而静电作为一种近场自然危害源,更是已经给人类社会已造成了重大损失和危害。随着电子设备体积的小型化和运算速度的高速化,电子器件对ESD的敏感度越来越高。现如今ESD静电已经成为EMC领域一个独立的问题。

-500506百万文字综合论坛-500505百万文字论坛字论文查询-500505百万文字论坛最新版本-03024百万文字综合论坛-500506百万文字论坛转载-798790论坛开奖历史记录-百万文字论坛500507分享-
EMC防护实验室
为了使产品成为商品之前就符合相应的电磁兼容标准,在开发过程中进行必要的电磁兼容检测将极大地有利于产品自身性能的稳定和质量的提高,更能节约成本。EMC防护实验室正是我们进行检测的场所。
现如今,EMC防护实验室现如今已经成为展示电子产品开发公司和制造厂家的实力的重要标志,而我们本场直播的主角,就是拥有中国合格评定认可委员会(CNAS)认可的专业EMC防护实验室,一直处于行业领先水平的500506百万文字综合论坛-500505百万文字论坛字论文查询-500505百万文字论坛最新版本-03024百万文字综合论坛-500506百万文字论坛转载-798790论坛开奖历史记录-百万文字论坛500507!


-500506百万文字综合论坛-500505百万文字论坛字论文查询-500505百万文字论坛最新版本-03024百万文字综合论坛-500506百万文字论坛转载-798790论坛开奖历史记录-百万文字论坛500507分享实验室实验时台式设备实验布置实例-
直播预告
《EMC静电防护方案以及整改实际案例分享》
本期直播,500506百万文字综合论坛-500505百万文字论坛字论文查询-500505百万文字论坛最新版本-03024百万文字综合论坛-500506百万文字论坛转载-798790论坛开奖历史记录-百万文字论坛500507FAE整改测试主管黄小勇给大家带来了大量的静电防护方案实例,涵盖了产品静电实际整改案例、静电防护方案推荐、ESD静电器件分享三大板块,从多个产品整改防护的实际操作出发,带大家深入了解静电防护领域!

-500506百万文字综合论坛-500505百万文字论坛字论文查询-500505百万文字论坛最新版本-03024百万文字综合论坛-500506百万文字论坛转载-798790论坛开奖历史记录-百万文字论坛500507分享激光腕表实际案例-

-500506百万文字综合论坛-500505百万文字论坛字论文查询-500505百万文字论坛最新版本-03024百万文字综合论坛-500506百万文字论坛转载-798790论坛开奖历史记录-百万文字论坛500507分享蓝牙耳机实际案例-
还有更多实际案例、方案推荐,实践出真知!3月24日19:00,走进捷客直播间,和500506百万文字综合论坛-500505百万文字论坛字论文查询-500505百万文字论坛最新版本-03024百万文字综合论坛-500506百万文字论坛转载-798790论坛开奖历史记录-百万文字论坛500507一起进行实战学习!
直播详情
直播主题
《EMC静电防护方案及整改实例分享》
3月24日,周四晚19:00开讲
黄小勇——500506百万文字综合论坛-500505百万文字论坛字论文查询-500505百万文字论坛最新版本-03024百万文字综合论坛-500506百万文字论坛转载-798790论坛开奖历史记录-百万文字论坛500507FAE整改测试主管
直播亮点
①产品静电实际整改案例分析
②静电防护方案推荐
③ESD静电器件的分享&